Назад

Apple патентует очередную вариацию "оборачиваемого" дисплея

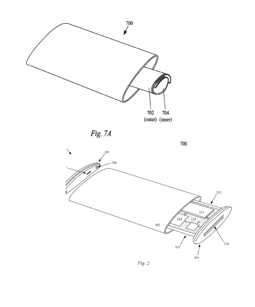
В недавно опубликованной патентной заявке US 20190324503 A1  компания Apple раскрывает пример использования технологии гибких дисплеев. В частности, данная заявка предлагает принцип выполнения самого дисплея в виде сворачиваемого рулона, который помещается в прозрачный корпус, внутри которого также располагаются необходимые компоненты.

Относительно промышленного изготовления такого вида устройств информация на данный момент отсутствует, но можно предположить, что отголоски данной технологии или ее прямая имплементация, возможно, увидит свет в новых устройствах компании Apple.

Apple патентует очередную вариацию "оборачиваемого" дисплея