Apple получила патент на технологию распознавания владельца часов по запястью
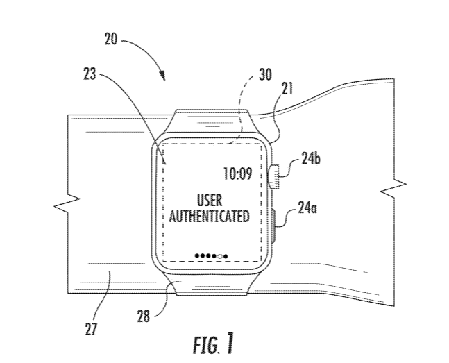
Компания Apple успешно запатентовала технологию распознавания владельца часов по запястью для своей линейки часов AppleWatch. Патент раскрывает наличие на носимом устройстве биометрического сенсора на тыльной стороне устройства (поз 30, Fig. 6), который обеспечивает получение пиксельной информации о паттерне кожи носителя устройства.

Как изложено в примерах реализации технологии, сенсор (30) может представлять собой сенсор на основе получения информации в ИК диапазоне светового излучения и содержать набор пикселей (31), которые работают в диапазоне волн 1-5 микрон. Или же сенсор (30) может содержать микроболометр. Как указывается в патенте, применение данного сенсора может быть дополнительным фактором аутентификации владельца носимого устройства, а также собирать дополнительную информацию о здоровье пользователя, например, для мониторинга физической активности.