FORD получила патент на систему поиска мобильных устройств в салоне автомобиля
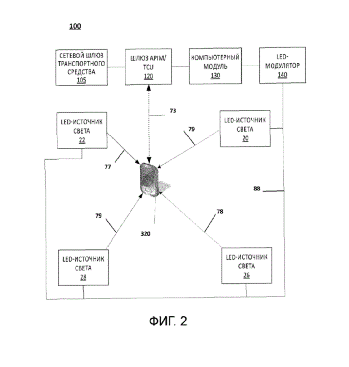
Компания FORD получила патент на систему нахождения мобильного устройства в салоне транспортного средства. Как указано в патенте, информация о том или ном объекте в салоне определяется на основании анализа данных, поступающих от внутренних источников света, например, светодиодных ламп. Такое решение может использоваться для разделения предоставляемого контента для каждого выявленного типа устройств.

Для локализации устройств может применяться принцип анализа угла падения света, на основании которого может вычисляться коэффициент масштабирования изображения, передаваемого на выявленное мобильное устройство.